吊车参数应用
好的,我们来详细解析一下骏通JZQ585-6S这款汽车起重机在不同工况下,其起重性能表的实际应用案例。
首先,需要明确一个核心概念:起重性能表是吊车安全作业的生命线,任何吊装作业前都必须严格查阅。
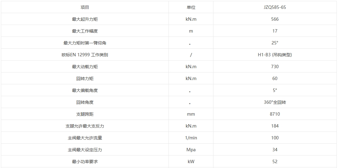
骏通JZQ585-6S 基本参数回顾:
- 型号解读: JZQ585-6S,通常意味着最大额定起重量为55吨(或58吨,具体以官方性能表为准),6节主臂,S可能代表一些特定配置或升级。
- 核心部件: 主臂全伸长度通常在40米以上,可能配备副臂以延伸作业高度和半径。
起重性能表主要受三个关键因素影响:
- 工作幅度(吊臂回转半径): 幅度越大,起重能力越小。
- 吊臂长度: 臂伸得越长,起重能力越小。
- 支腿工况: 全支腿(全方位/360°作业)和半支腿(侧方/后方作业)的起重能力差异巨大。
应用案例场景分析
假设我们手头有一份JZQ585-6S的性能表(以下数据为模拟,实际操作请务必以随车官方性能表为准)。
案例一:厂房内设备安装(精确计算,规避风险)
- 场景描述: 需要将一台重20吨的新设备吊装到厂房内预定位置。厂房净高12米,设备需要越过一个8米高的障碍物后,放置到离吊车中心10米远的基础之上。
- 应用性能表步骤:
- 确定关键参数:
- 被吊物重量: 20吨。
- 所需幅度: 障碍物后,吊钩需要到达离吊车中心10米的位置。考虑到吊索具和设备尺寸,作业幅度可能需要按12米来规划。
- 所需臂长: 厂房净高12米,吊钩、吊索具高度约3米,设备高2米。为保证安全净空,吊臂顶端高度至少需要12米 + 3米 + 安全余量 ≈ 16米。查询性能表,选择能覆盖16米高度且幅度在12米时能满足起重重量的臂长。假设选择臂长18米。
- 查阅性能表:
- 找到“全支腿、360°作业”工况页。
- 在“臂长18米”这一列,向下找到“幅度12米”对应的行。
- 查得该工况下的额定起重量为,例如:22吨。
- 安全判定:
- 被吊物20吨 < 额定起重量22吨。
- 但是! 必须考虑吊钩、吊索具的重量(假设0.5吨)。总吊重为20.5吨。
- 20.5吨 < 22吨,且在安全余量范围内(通常要求负载不超过额定起重量的80%-90%,视公司安全规定而定)。结论:此项作业在性能上可行。
- 风险规避: 性能表显示,在18米臂、13米幅度时,起重量可能骤降至18吨。这意味着操作时必须非常平稳,严禁快速回转或变幅,防止因惯性导致实际幅度增大而超载。
- 确定关键参数:
案例二:工地钢筋笼吊装(关注幅度变化)
- 场景描述: 在建筑工地,需要将一个长15米、重9吨的钢筋笼从平板车上吊起,并放入已经挖好的基坑中。基坑边缘距离吊车停放中心约7米。
- 应用性能表步骤:
- 分析作业过程: 这个作业的关键在于幅度是变化的。
- 阶段一(从车上吊起): 幅度较近,约5米。
- 阶段二(回转并伸臂至基坑上方): 幅度增大至7米或更大(因为钢筋笼很长,需要将其整体移到基坑中心)。
- 按最不利工况校核:
- 最不利工况是阶段二: 臂长需要足够覆盖基坑深度和钢筋笼长度,假设需要臂长20米,作业幅度9米(考虑钢筋笼长度)。
- 查阅性能表: 在“全支腿、臂长20米”列,找到“幅度9米”对应的起重量,例如:11吨。
- 安全判定: 吊重9吨 < 额定11吨,安全。
- 操作要点: 虽然起
- 分析作业过程: 这个作业的关键在于幅度是变化的。

下载APP








